电动车自带后备电|福特申请车顶备用电池专利 可拆式行李箱为纯电越野车荒野充电
更新时间:12:35 2023-06-13 HKT
发布时间:12:35 2023-06-13 HKT
发布时间:12:35 2023-06-13 HKT
除着充电站不断增加,电动车充电不错愈来愈方便,只是充电站难以做到总有一个喺附近,尤其郊野地方,故如何叫一班越野车迷有借口换电动车。为此,美国车厂福特(Ford)似乎想到一个解决方法,就是在电动车车顶放置一个外形像行李箱的备用电池,驶至荒山野岭时,也可以随时为车子充电延长续航力。

福特这个专利申请显然是为电动越野车而设计。

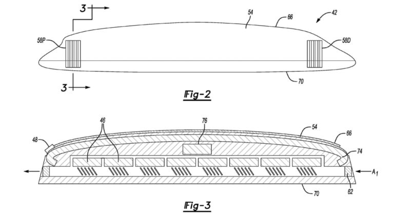
申请文件显示备用电池设计成车顶的行李箱模样,密封设计可避免雨水或沙尘进入。

为车子充电时,备用电池须要经充电线缆连接车身充电插口,故不能边开车边充电。

福特是否有意推出纯电版Bronco,成为了网友热话。
福特这个备用电池奇想,从早前向美国专利商标局(USPTO)提交的专利申请中曝光,据相关文件显示,厂方正开发一款可放在电动越野车顶部的行李箱,实际是一个大型锂电池组,电池外侧设有通风口估计是用来散热,为车子补充电力时,须以充电线缆接驳备用电池及车身充电插口,效果就像现时带备流动电源为手机充电的样子,只是不能一边开车一边充电。当然,这个备用电池是可以拆下来,需远途旅行或打算到荒野露野才装上车顶,至于装拆过程如何那是后话。
尽管提交了专利申请,不代表最终一定会量产上市,备用电池的可行性及实用度,实际车厂还可能要进一步研究。不过福特有意为电动越野车开发备用电池,反而引起了媒体注意,厂商是否暗示有意推出纯电版Bronco?
资讯来源:insideEVs
《星岛头条》APP经已推出最新版本,请立即更新,浏览更精彩内容:https://bit.ly/3yLrgYZ
最Hit
长生津覆检开始!长者注意紫色通知书 未如期申报或被暂停津贴( 附最新资产限额+填表须知)
2026-04-03 19:21 HKT
买彩票赢近2500万元海景豪宅 幸运夫妇住半年「嫌太大」 决定放售套现换楼
2026-04-03 16:45 HKT

















